Annotation du cookie SVP. cliquer ici si vous ne les acceptez pas.

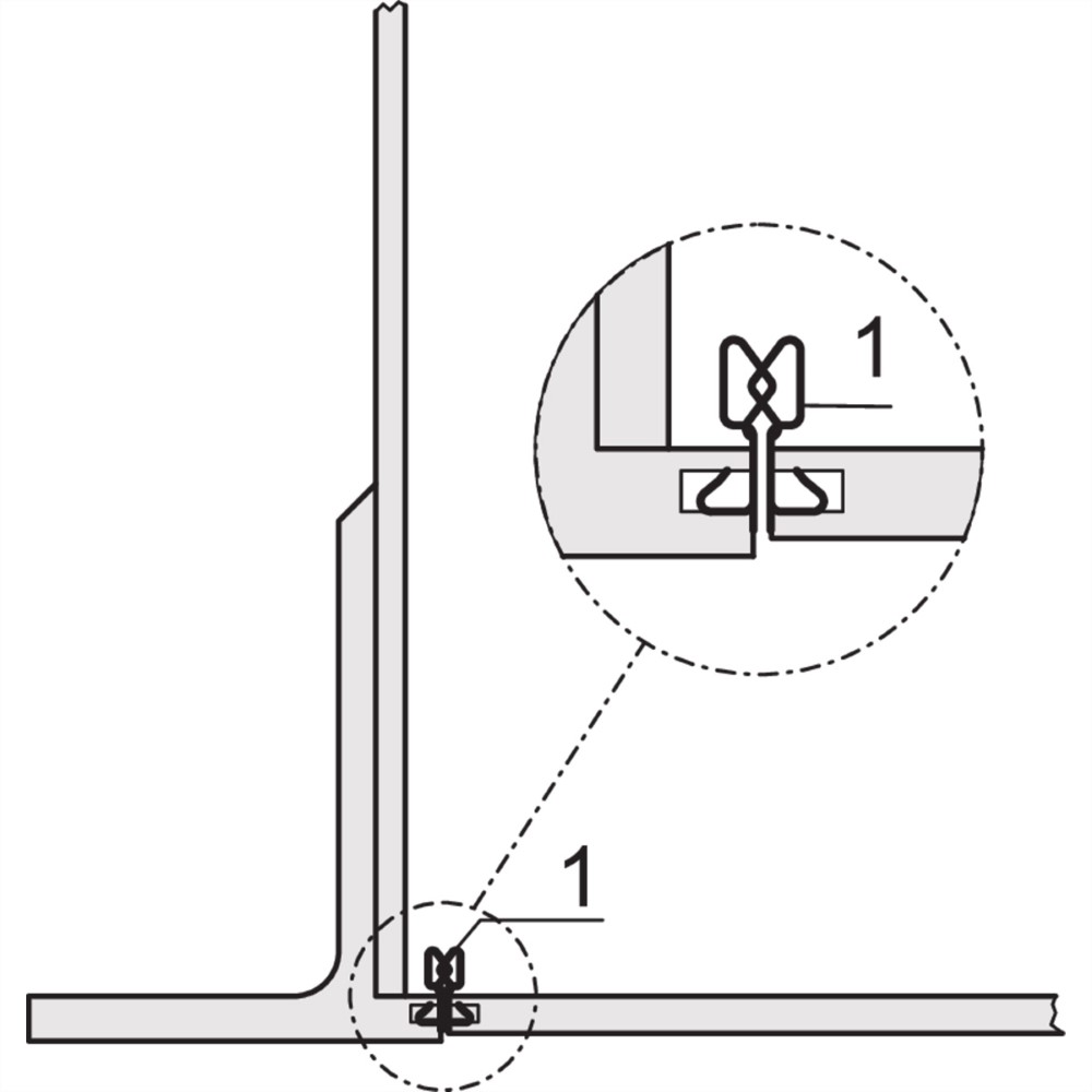
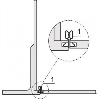
EuropacPRO Kit de blindage CEM, face avant/face latérale, acier inoxydable, encastré, 6 U

Réf produit: SEC-26155322
Poids: 0.07 kg
Cet article n'est pas en stock. Réapprovisonnement en cours. délai de livraison: 5 - 7 jours
* TVA incl, plus frais de livraison